Чертежи из патента, поданного BMW, показывают, что бренд разрабатывает рулевое колесо с бугелем для своих будущих беспилотных автомобилей. Эта концепция представляет собой радикальное развитие рулевого колеса в форме хомута, представленного Tesla в модели S Plaid — оно оснащено поворотными ручками и может складываться, когда включено автономное вождение.
Патентные чертежи не дают точного представления о том, как будет выглядеть устройство, но новое рулевое колесо, называемое в файлах «рулевой ручкой», работает так, как ни в одном другом серийном автомобиле.
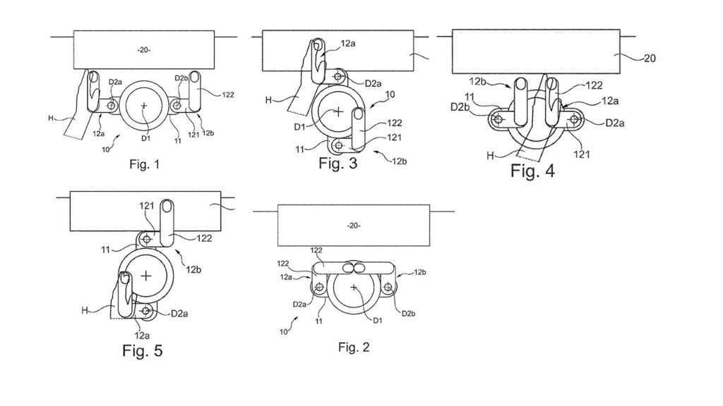
Центральная ступица такая же, как у традиционного рулевого колеса, но на этом сходство заканчивается. Две спицы прикреплены к противоположным сторонам ступицы с захватами на каждом конце, чтобы водитель мог их удерживать. Спицы крепятся с помощью шарнирных соединений, которые позволяют ручкам вращаться и оставаться в вертикальном положении независимо от ориентации центральной втулки.
В патенте подчеркивается, что система предназначена для беспилотного автомобиля, а спицы могут складываться в автономном режиме.
Однако при обычном вождении рукоятка рулевого управления не выглядит практичной для большей блокировки рулевого управления, поскольку конструкция не позволяет водителю управлять ею руками, как это было бы с обычным рулевым колесом. Это проблема с вилкой Tesla, но в большей степени с дизайном BMW, поскольку спицы и ручки также вращаются, чтобы оставаться в вертикальном положении независимо от угла поворота рулевого колеса.
На патентных чертежах показан водитель, поворачивающий руль на 270° по часовой стрелке;неясно, является ли это максимальным вращением системы, но если это так, то оно намного меньше, чем у обычного автомобиля. Это может означать, что BMW разрабатывает систему рулевого управления с переменным передаточным числом для своих будущих моделей, в которых используется рукоятка рулевого управления, что позволит увеличить степень рулевого управления при сравнительно небольшом вращении рулевого колеса во время маневров на низкой скорости.
Если ручка руля BMW предназначена для производства, мы не увидим ее до тех пор, пока фирма не выпустит свой первый полностью автономный автомобиль, когда это позволит государственное законодательство. В настоящее время в Великобритании разрешен автономный уровень 2, позволяющий усовершенствованным системам помощи водителю управлять рулевым управлением, дроссельной заслонкой и тормозами в определенных сценариях, в то время как водитель остается полностью бдительным, держа руки на руле.
Ознакомьтесь с нашим списком лучших электромобилей, которые можно купить прямо сейчас…
